自2026年2月起,宝马将在所有车型上启用新的品牌Logo,此次换标行动覆盖全系产品。

对比新老LOGO来看,新LOGO整体框架变化并不是特别明显,但对细节进行了诸多调整。新LOGO取消了原有内圈镀铬环与蓝白分割的镀铬条,取而代之的是更有质感的哑光黑环样式,内部则依然采用蓝白相间图案,但蓝白配色饱和度更高,整体设计趋向扁平化和极简化,更符合当下车标主流。
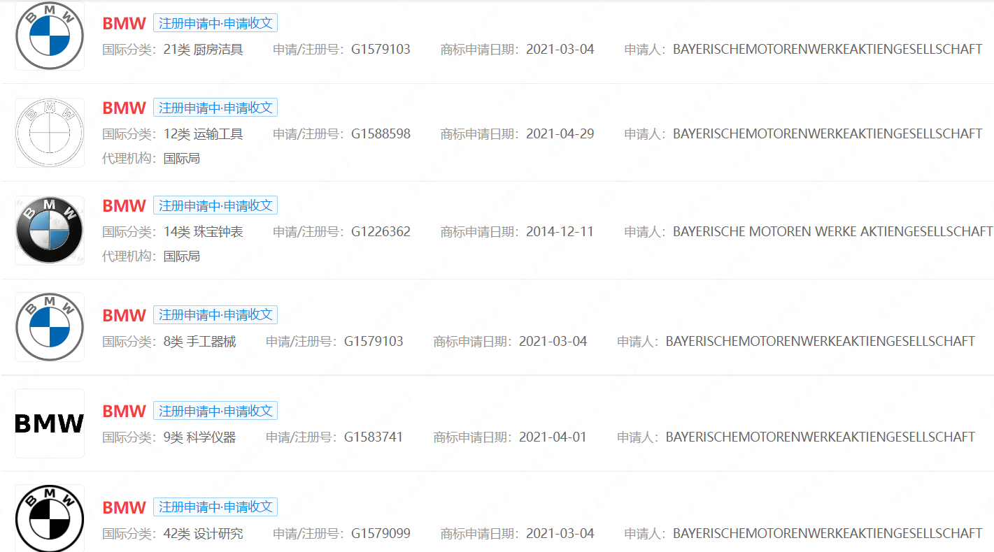
知协查询了解到,宝马股份有限公司早在多年前就申请了多种风格的“BMW及图”和图形logo商标,目前有一部分已成功注册。

根据宝马集团发布的2025年全球市场业绩报告,中国市场持续稳居全球第一大市场地位,宝马集团对中国市场持续投入的决心不会有任何妥协。2026年恰逢中国农历马年,宝马集团在中国将继续深化本土合作,以技术创新为核心,持续提升产品价值与品牌竞争力。
据了解,宝马在中国进行了大量的品牌商标布局,注册了“BMW”“宝马”等核心品牌商标;还注册了大量车型名称商标,例如“3系”“5系”“X5”“i3”“iX3”等车型名称均已完成商标注册,确保品牌对车型命名的独占权。

宝马通过注册国际商标,不仅保护了品牌核心资产,还为全球化战略提供了坚实法律支撑,是跨国企业成功拓展国际市场的重要保障。








